Con Apple TV, Amazon Fire TV stick y Google Chromecast.
Una patente sugiere un servicio de juegos en la nube de Sony PlayStation con Apple TV, Amazon Fire TV stick y Google Chromecast.
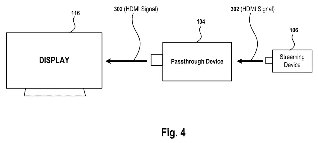
Según la información de una patente publicada recientemente, Sony PlayStation estaría trabajando en un servicio de juegos en la nube que se integraría en dispositivos como Apple TV, Amazon Fire TV stick y Google Chromecast a través de un dispositivo de paso.
Las imágenes y detalles incluidos en la patente hablan de cómo este sistema permitiría a los usuarios acceder a una biblioteca de videojuegos y elegir a cuáles jugar a través de la nube de la misma forma que se hace con el streaming de películas y series de televisión o, un ejemplo más ajustado, con Xbox Game Pass.
¿Por qué un dispositivo en lugar de una app nativa?
Según la patente, la razón es que, al parecer, ninguno de los dispositivos actuales admite la codificación de vídeo de baja latencia ni la potencia de cálculo necesaria para los juegos en la nube.
«…los dispositivos de streaming pueden proporcionar acceso a diversos contenidos multimedia, pero no admiten ni facilitan el juego en la nube. Por ejemplo, un consumidor puede utilizar su reproductor multimedia de streaming Roku para transmitir diversos contenidos multimedia y acceder a un número limitado de videojuegos. Lamentablemente, los reproductores multimedia de streaming, como Roku y otros dispositivos de streaming, pueden no ser compatibles con el juego en la nube, que requiere una descodificación de vídeo de muy baja latencia y una gran potencia de procesamiento para descodificar eficazmente el flujo de videojuegos. […] Como resultado, el juego en la nube puede no ser accesible para los consumidores que deseen acceder a los videojuegos de un sistema de juego en la nube a través de su dispositivo de streaming.»
A continuación se muestra una galería de imágenes que captan ejemplos del dispositivo patentado por Sony en funcionamiento.
El dispositivo patentado por Sony permitiría, por tanto, acceder a todos los servicios de streaming de Apple TV, Amazon Fire TV y similares, además de a su propio servicio de juegos en la nube. No sabemos hasta qué punto un dispositivo así atraería a los usuarios, pero señalemos como de costumbre que no es raro que se registren patentes para dispositivos que nunca ven la luz.


